首页
专利数据库
产业人才
行业动态
产业政策法规
维权援助
个人中心
登录/注册
详情
文本
图像
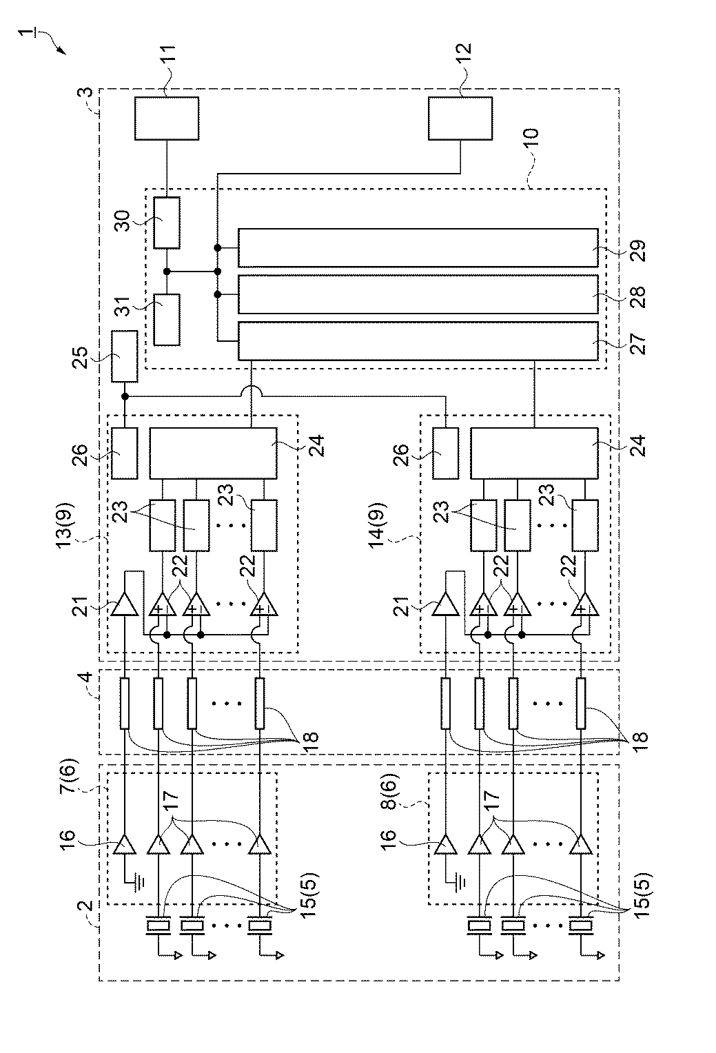
标题:
超音波診断装置
授权日:
1900-01-01
公开(公告)号:
JP2017184843A
申请日:
2016-04-01
公开(公告)日:
2017-10-12
当前申请(专利权)人:
セイコーエプソン株式会社
发明人:
新井 義雄 | 林 正樹
简单同族:
JP2017184843A | JP6668894B2 | US20190343491A1 | WO2017170865A1
简单同族成员数量:
4
简单同族被引用专利总数:
0
诉讼案件数:
0
法律状态/事件:
授权