首页
专利数据库
产业人才
行业动态
产业政策法规
维权援助
个人中心
登录/注册
详情
文本
图像
标题:
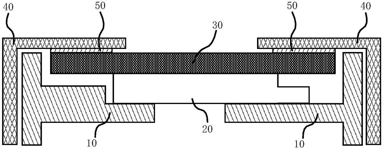
显示屏贴合结构
授权日:
2018-12-11
公开(公告)号:
CN208224663U
申请日:
2018-05-18
公开(公告)日:
2018-12-11
当前申请(专利权)人:
上汽大众汽车有限公司 | 大众汽车股份公司
发明人:
黄燕文 | 黄燕
简单同族:
CN208224663U
简单同族成员数量:
1
简单同族被引用专利总数:
0
诉讼案件数:
0
法律状态/事件:
授权