首页
专利数据库
产业人才
行业动态
产业政策法规
维权援助
个人中心
登录/注册
详情
文本
图像
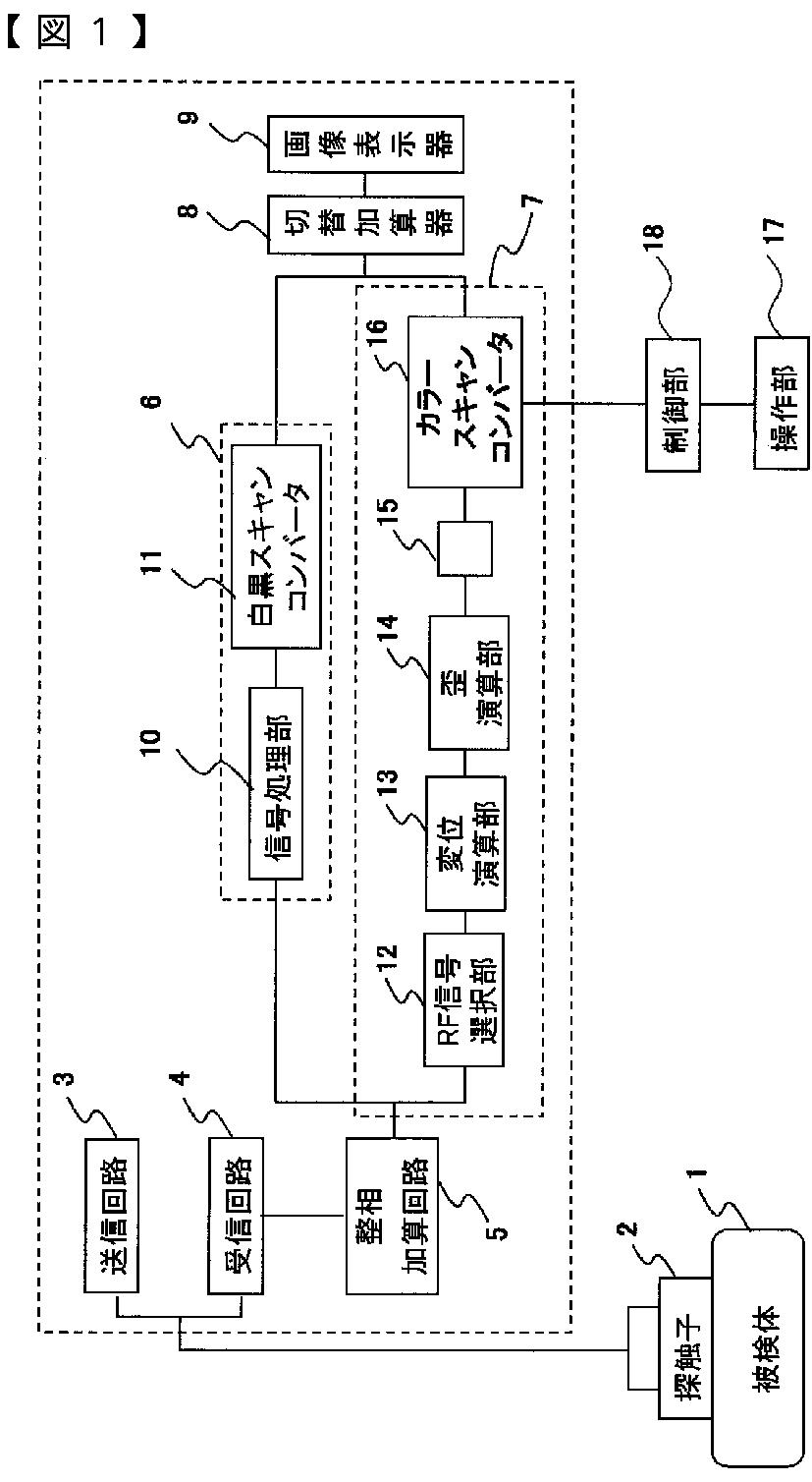
标题:
超音波診断装置
授权日:
2011-01-07
公开(公告)号:
JP4657106B2
申请日:
2004-11-11
公开(公告)日:
2011-03-23
当前申请(专利权)人:
株式会社日立メディコ
发明人:
脇 康治 | 大坂 卓司 | 伊藤 光明 | 松村 剛 | 村山 直之 | 柏木 貴
简单同族:
JP4657106B2 | JPWO2005048847A1 | JPWO2005048847A5 | US20070112270A1 | US20100324421A1 | US8608659 | WO2005048847A1
简单同族成员数量:
7
简单同族被引用专利总数:
72
诉讼案件数:
0
法律状态/事件:
授权 | 权利转移