首页
专利数据库
产业人才
行业动态
产业政策法规
维权援助
个人中心
登录/注册
详情
文本
图像
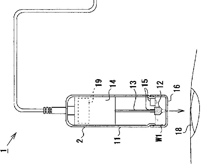
标题:
超音波顕微鏡
授权日:
1900-01-01
公开(公告)号:
JP2012021952A
申请日:
2010-07-16
公开(公告)日:
2012-02-02
当前申请(专利权)人:
長井 裕 | 国立大学法人東北大学 | 本多電子株式会社
发明人:
長井 裕 | 西條 芳文 | 小林 和人
简单同族:
JP2012021952A | JP5648149B2
简单同族成员数量:
2
简单同族被引用专利总数:
0
诉讼案件数:
0
法律状态/事件:
授权 | 权利转移