首页
专利数据库
产业人才
行业动态
产业政策法规
维权援助
个人中心
登录/注册
详情
文本
图像
标题:
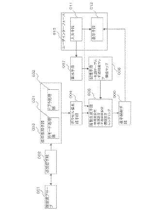
超音波診断装置
授权日:
1900-01-01
公开(公告)号:
JP2009011711A
申请日:
2007-07-09
公开(公告)日:
2009-01-22
当前申请(专利权)人:
株式会社東芝 | 東芝メディカルシステムズ株式会社 | 東芝医用システムエンジニアリング株式会社
发明人:
橋本 新一 | 久我 衣津紀 | 志岐 栄一
简单同族:
JP2009011711A | JP2009011711A5 | US20090015587A1 | US8519998
简单同族成员数量:
4
简单同族被引用专利总数:
29
诉讼案件数:
0
法律状态/事件:
驳回