首页
专利数据库
产业人才
行业动态
产业政策法规
维权援助
个人中心
登录/注册
详情
文本
图像
标题:
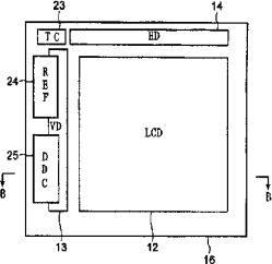
液晶显示装置及使用它的电子装置
授权日:
1900-01-01
公开(公告)号:
CN1394293A
申请日:
2001-08-23
公开(公告)日:
2003-01-29
当前申请(专利权)人:
索尼公司
发明人:
猪野益充
简单同族:
CN1174280C | CN1394293A | EP1243965A1 | EP1243965A4 | JP2002072233A | JP2002072233A5 | JP4352598B2 | KR100829066B1 | KR1020020040879A | NO20021807D0 | NO20021807L | US20030057853A1 | US6897841 | WO2002017007A1
简单同族成员数量:
14
简单同族被引用专利总数:
54
诉讼案件数:
0
法律状态/事件:
未缴年费