首页
专利数据库
产业人才
行业动态
产业政策法规
维权援助
个人中心
登录/注册
详情
文本
图像
标题:
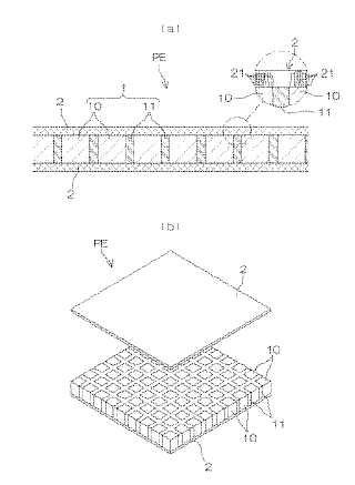
圧電振動子とその実装方法、実装デバイス、それを用いた超音波プローブ、およびそれを用いた3次元超音波診断装置
授权日:
1900-01-01
公开(公告)号:
JP2004088056A
申请日:
2003-01-20
公开(公告)日:
2004-03-18
当前申请(专利权)人:
住友電気工業株式会社
发明人:
仲前 一男 | 平田 嘉裕 | 依田 潤
简单同族:
JP2004088056A
简单同族成员数量:
1
简单同族被引用专利总数:
32
诉讼案件数:
0
法律状态/事件:
驳回