首页
专利数据库
产业人才
行业动态
产业政策法规
维权援助
个人中心
登录/注册
详情
文本
图像
标题:
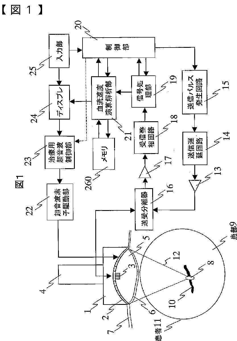
超音波治療装置
授权日:
2009-11-06
公开(公告)号:
JP4401354B2
申请日:
2004-05-18
公开(公告)日:
2010-01-20
当前申请(专利权)人:
株式会社日立製作所 | 株式会社日立メディコ
发明人:
佐々木 一昭 | 東 隆 | 川畑 健一 | 梅村 晋一郎 | 岡井 崇 | 石川 哲也
简单同族:
JP4401354B2 | JPWO2004100811A1 | US20070161897A1 | US7699779 | WO2004100811A1
简单同族成员数量:
5
简单同族被引用专利总数:
31
诉讼案件数:
0
法律状态/事件:
未缴年费