首页
专利数据库
产业人才
行业动态
产业政策法规
维权援助
个人中心
登录/注册
详情
文本
图像
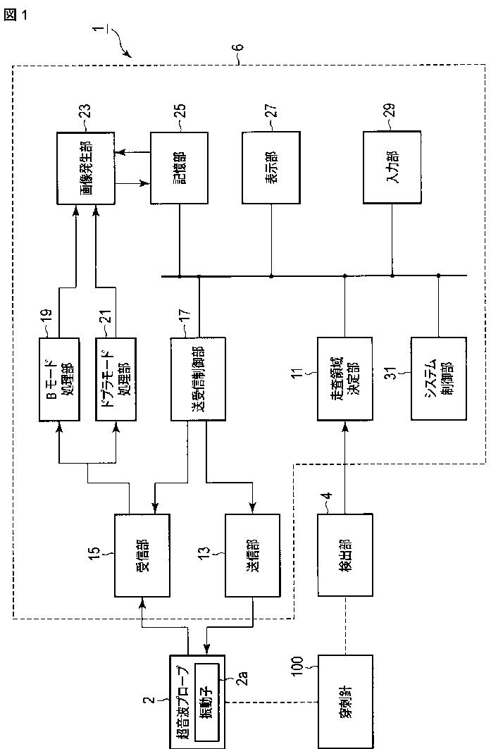
标题:
超音波診断装置及び超音波走査プログラム
授权日:
1900-01-01
公开(公告)号:
JP2013081764A
申请日:
2012-09-14
公开(公告)日:
2013-05-09
当前申请(专利权)人:
株式会社東芝 | 東芝メディカルシステムズ株式会社
发明人:
吉新 寛樹 | 神山 直久 | 吉田 哲也 | 岡村 陽子
简单同族:
CN103179907A | CN103179907B | JP2013081764A | US20130096430A1 | WO2013047380A1
简单同族成员数量:
5
简单同族被引用专利总数:
36
诉讼案件数:
0
法律状态/事件:
撤回