首页
专利数据库
产业人才
行业动态
产业政策法规
维权援助
个人中心
登录/注册
详情
文本
图像
标题:
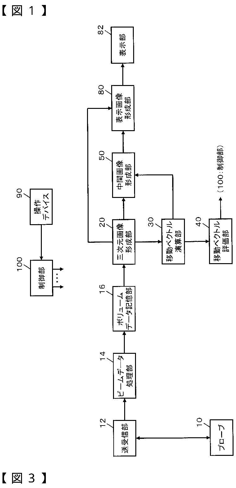
超音波診断装置
授权日:
2016-08-12
公开(公告)号:
JP5985007B1
申请日:
2015-06-02
公开(公告)日:
2016-09-06
当前申请(专利权)人:
株式会社日立製作所
发明人:
村下 賢 | 宍戸 裕哉 | 小林 正樹 | 佐藤 みか
简单同族:
JP2016221076A | JP5985007B1 | WO2016194432A1
简单同族成员数量:
3
简单同族被引用专利总数:
0
诉讼案件数:
0
法律状态/事件:
授权 | 权利转移