首页
专利数据库
产业人才
行业动态
产业政策法规
维权援助
个人中心
登录/注册
详情
文本
图像
标题:
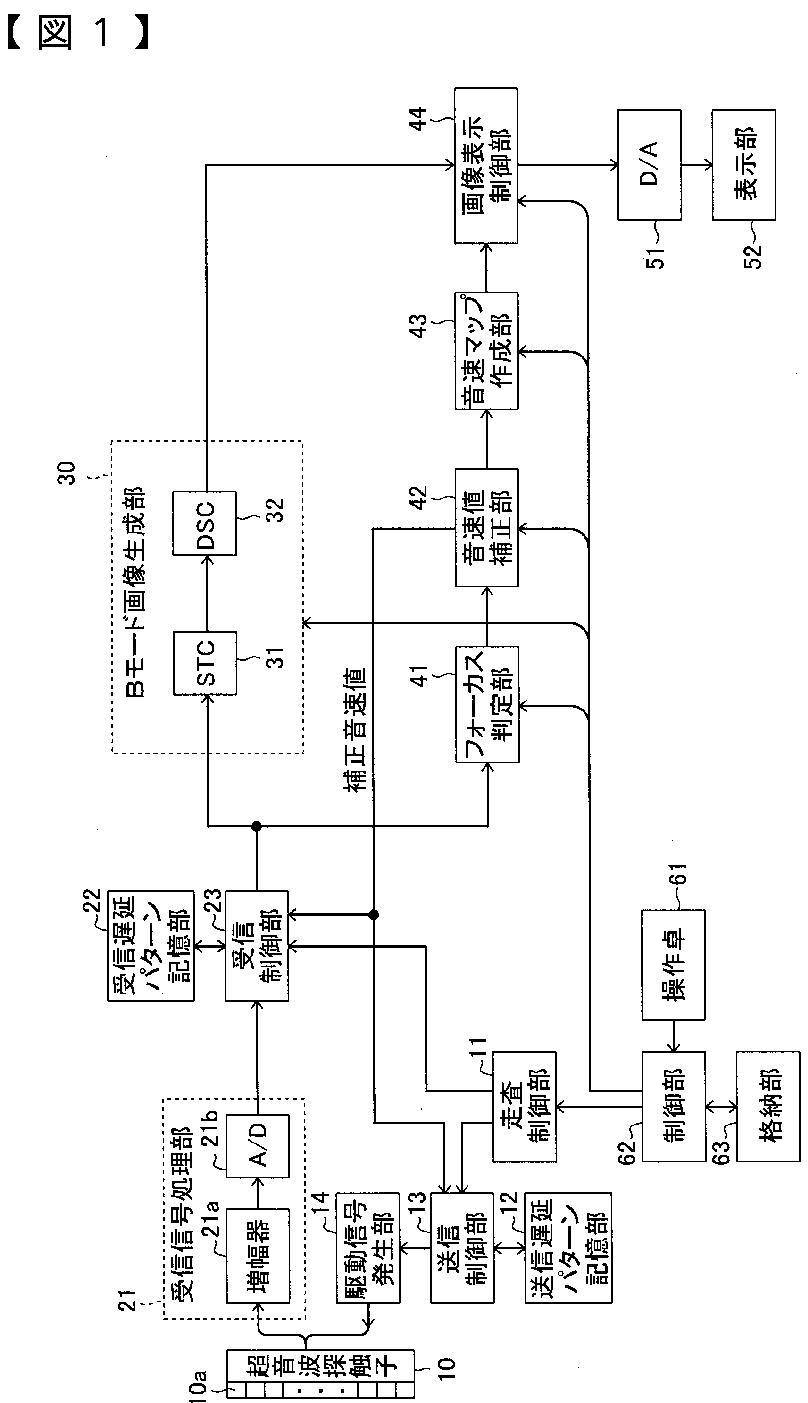
超音波診断装置
授权日:
2015-03-27
公开(公告)号:
JP5719098B2
申请日:
2008-05-26
公开(公告)日:
2015-05-13
当前申请(专利权)人:
富士フイルム株式会社
发明人:
唐澤 弘行
简单同族:
JP2009279306A | JP5719098B2 | US20090292207A1 | US8197412
简单同族成员数量:
4
简单同族被引用专利总数:
30
诉讼案件数:
0
法律状态/事件:
授权