首页
专利数据库
产业人才
行业动态
产业政策法规
维权援助
个人中心
登录/注册
详情
文本
图像
标题:
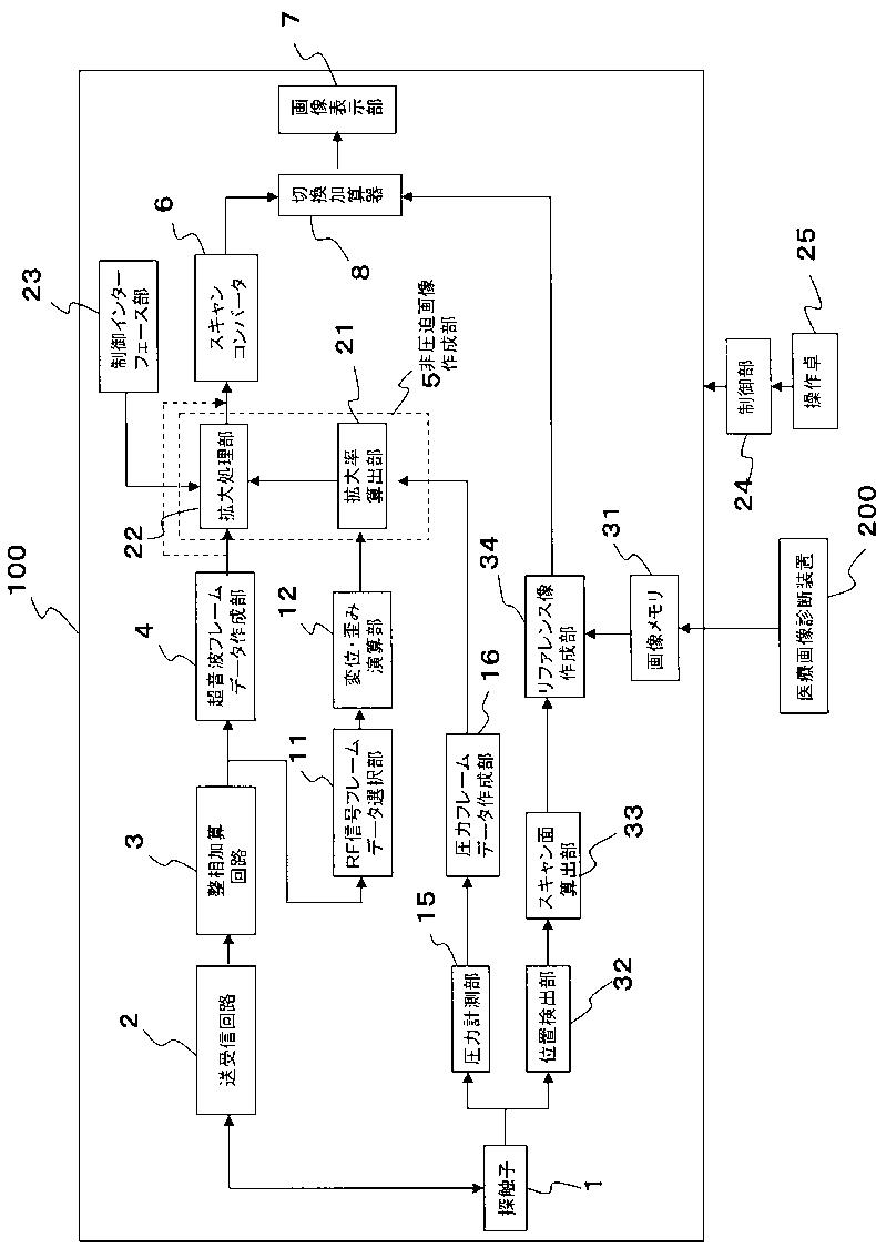
超音波診断装置
授权日:
2012-06-29
公开(公告)号:
JP5028423B2
申请日:
2007-12-20
公开(公告)日:
2012-09-19
当前申请(专利权)人:
株式会社日立メディコ
发明人:
荒井 修 | 松村 剛
简单同族:
CN101553174A | CN101553174B | EP2123224A1 | EP2123224A4 | JP5028423B2 | JPWO2008075740A1 | US20100016724A1 | WO2008075740A1
简单同族成员数量:
8
简单同族被引用专利总数:
32
诉讼案件数:
0
法律状态/事件:
未缴年费