首页
专利数据库
产业人才
行业动态
产业政策法规
维权援助
个人中心
登录/注册
详情
文本
图像
标题:
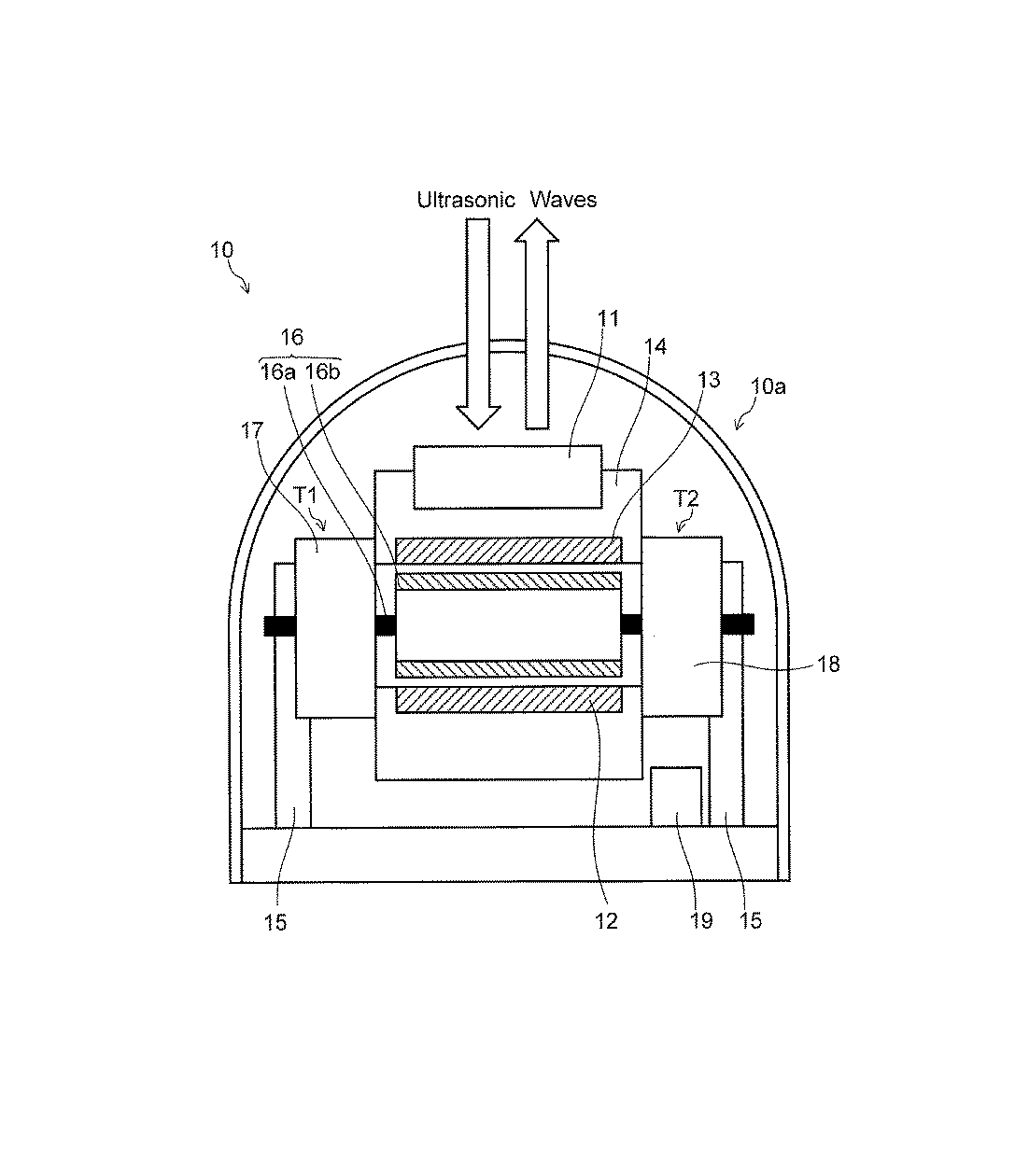
超音波プローブ、及び超音波診断装置
授权日:
1900-01-01
公开(公告)号:
JP2018153312A
申请日:
2017-03-16
公开(公告)日:
2018-10-04
当前申请(专利权)人:
コニカミノルタ株式会社
发明人:
大浦 浩二
简单同族:
CN108618806A | JP2018153312A | US20180263599A1
简单同族成员数量:
3
简单同族被引用专利总数:
0
诉讼案件数:
0
法律状态/事件:
授权