首页
专利数据库
产业人才
行业动态
产业政策法规
维权援助
个人中心
登录/注册
详情
文本
图像
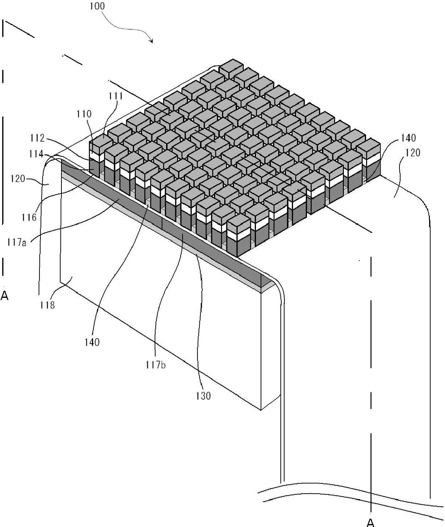
标题:
超音波トランスデューサ、超音波プローブ、超音波トランスデューサの製造方法
授权日:
2014-08-08
公开(公告)号:
JP5591549B2
申请日:
2010-01-28
公开(公告)日:
2014-09-17
当前申请(专利权)人:
株式会社東芝 | 東芝メディカルシステムズ株式会社
发明人:
四方 浩之
简单同族:
CN102205310A | CN102205310B | JP2011152303A | JP5591549B2 | KR1020110088384A | US20110181149A1 | US8604671
简单同族成员数量:
7
简单同族被引用专利总数:
44
诉讼案件数:
0
法律状态/事件:
授权 | 权利转移