首页
专利数据库
产业人才
行业动态
产业政策法规
维权援助
个人中心
登录/注册
详情
文本
图像
标题:
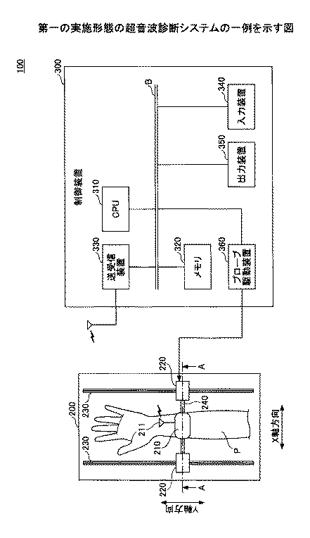
超音波診断システム
授权日:
1900-01-01
公开(公告)号:
JP2019063119A
申请日:
2017-09-29
公开(公告)日:
2019-04-25
当前申请(专利权)人:
株式会社ソシオネクスト
发明人:
足立 直人 | 後藤 雅彦 | 小林 真理 | 玉村 雅也
简单同族:
JP2019063119A | US20190099154A1
简单同族成员数量:
2
简单同族被引用专利总数:
0
诉讼案件数:
0
法律状态/事件:
公开