首页
专利数据库
产业人才
行业动态
产业政策法规
维权援助
个人中心
登录/注册
详情
文本
图像
标题:
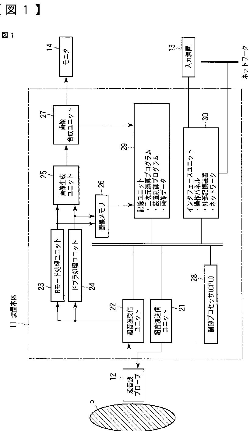
超音波診断装置、超音波画像処理装置、超音波診断装置制御プログラム及び超音波画像処理プログラム
授权日:
2015-01-23
公开(公告)号:
JP5683860B2
申请日:
2010-07-28
公开(公告)日:
2015-03-11
当前申请(专利权)人:
株式会社東芝 | 東芝メディカルシステムズ株式会社
发明人:
神山 直久
简单同族:
CN102365054A | CN102365054B | JP2011045708A | JP5683860B2 | US20120078105A1 | US9855025 | WO2011013713A1
简单同族成员数量:
7
简单同族被引用专利总数:
22
诉讼案件数:
0
法律状态/事件:
授权 | 权利转移