首页
专利数据库
产业人才
行业动态
产业政策法规
维权援助
个人中心
登录/注册
详情
文本
图像
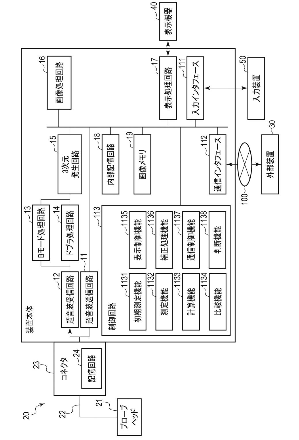
标题:
超音波診断装置、プローブ感度管理システム、及びプログラム
授权日:
1900-01-01
公开(公告)号:
JP2019136505A
申请日:
2019-02-06
公开(公告)日:
2019-08-22
当前申请(专利权)人:
キヤノンメディカルシステムズ株式会社
发明人:
岡田 健吾 | 藤田 文理
简单同族:
JP2019136505A
简单同族成员数量:
1
简单同族被引用专利总数:
0
诉讼案件数:
0
法律状态/事件:
公开