首页
专利数据库
产业人才
行业动态
产业政策法规
维权援助
个人中心
登录/注册
详情
文本
图像
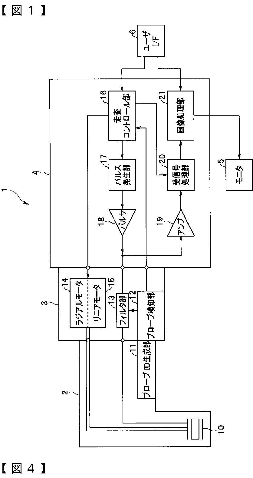
标题:
超音波診断システム
授权日:
2014-12-26
公开(公告)号:
JP5669693B2
申请日:
2011-08-11
公开(公告)日:
2015-02-12
当前申请(专利权)人:
オリンパスメディカルシステムズ株式会社
发明人:
吉村 武浩
简单同族:
JP2013039157A | JP5669693B2
简单同族成员数量:
2
简单同族被引用专利总数:
0
诉讼案件数:
0
法律状态/事件:
授权 | 权利转移