首页
专利数据库
产业人才
行业动态
产业政策法规
维权援助
个人中心
登录/注册
详情
文本
图像
标题:
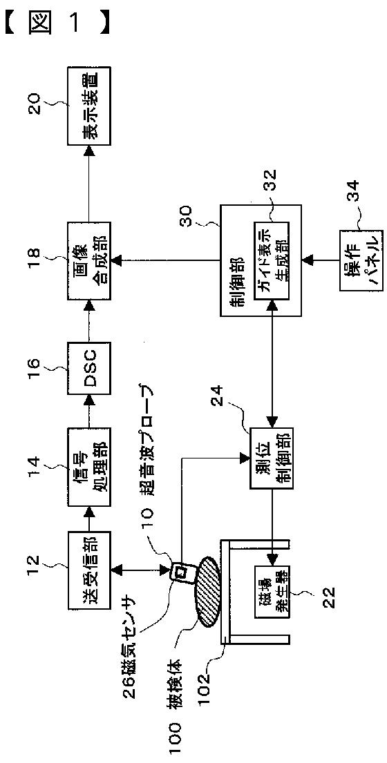
超音波診断装置
授权日:
2006-04-14
公开(公告)号:
JP3793126B2
申请日:
2002-07-26
公开(公告)日:
2006-07-05
当前申请(专利权)人:
アロカ株式会社
发明人:
大竹 章文 | 谷口 信行
简单同族:
JP2004057379A | JP3793126B2
简单同族成员数量:
2
简单同族被引用专利总数:
24
诉讼案件数:
0
法律状态/事件:
未缴年费