首页
专利数据库
产业人才
行业动态
产业政策法规
维权援助
个人中心
登录/注册
详情
文本
图像
标题:
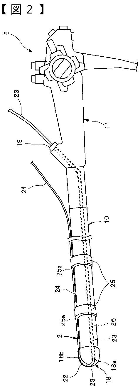
超音波プローブ、この超音波プローブに用いられる超音波振動子部規定部材及び内視鏡装置
授权日:
2013-11-22
公开(公告)号:
JP5416029B2
申请日:
2010-05-18
公开(公告)日:
2014-02-12
当前申请(专利权)人:
オリンパスメディカルシステムズ株式会社
发明人:
佐藤 直 | 藤村 毅直 | 中里 威晴
简单同族:
JP2011239942A | JP5416029B2
简单同族成员数量:
2
简单同族被引用专利总数:
0
诉讼案件数:
0
法律状态/事件:
授权 | 权利转移