首页
专利数据库
产业人才
行业动态
产业政策法规
维权援助
个人中心
登录/注册
详情
文本
图像
标题:
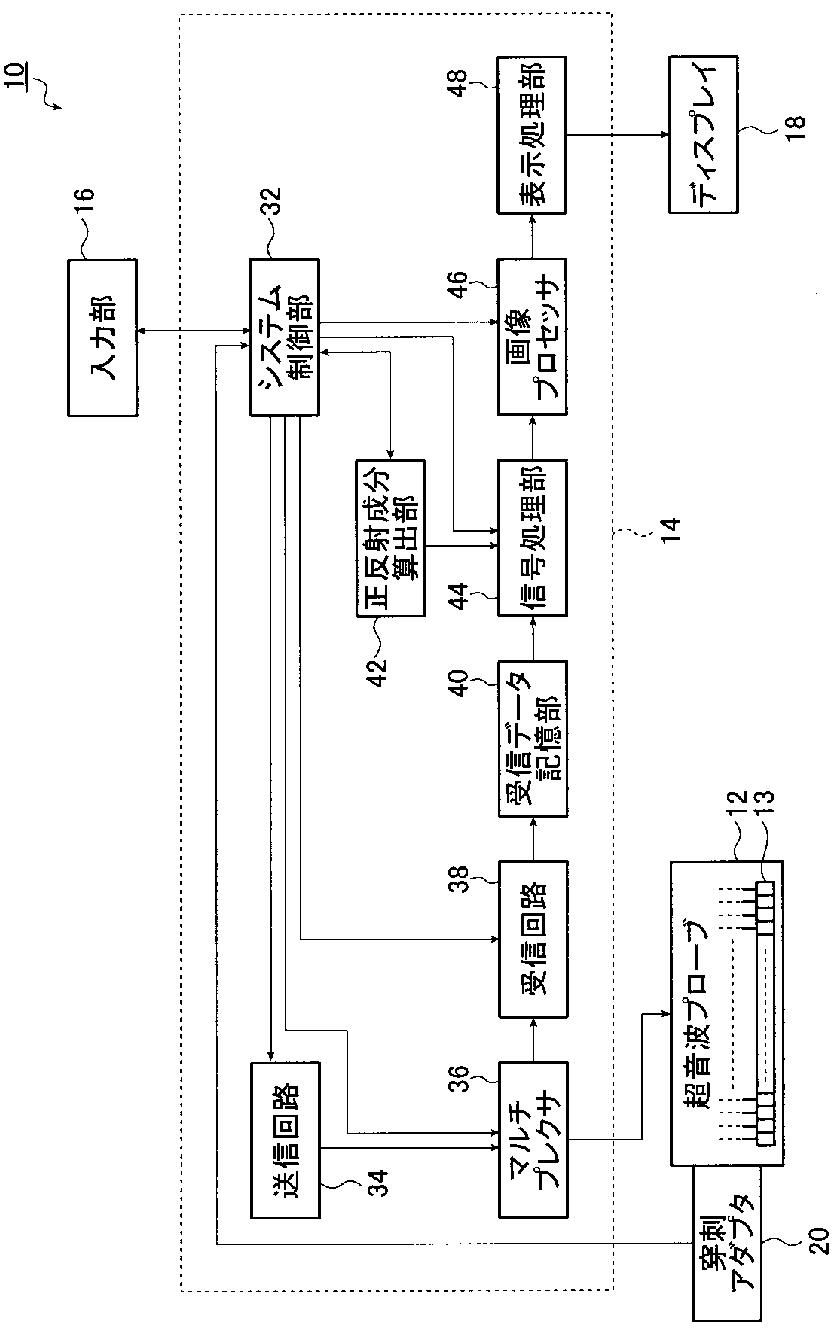
超音波診断装置、超音波送受信方法、および超音波送受信プログラム
授权日:
2013-12-20
公开(公告)号:
JP5435751B2
申请日:
2012-02-20
公开(公告)日:
2014-03-05
当前申请(专利权)人:
富士フイルム株式会社
发明人:
田代 りか | 宮地 幸哉 | 勝山 公人
简单同族:
CN102652678A | CN102652678B | EP2494926A1 | EP2494926B1 | JP2012192162A | JP5435751B2 | US20120226164A1 | US20150351717A1 | US9149252 | US9675318
简单同族成员数量:
10
简单同族被引用专利总数:
34
诉讼案件数:
0
法律状态/事件:
授权