首页
专利数据库
产业人才
行业动态
产业政策法规
维权援助
个人中心
登录/注册
详情
文本
图像
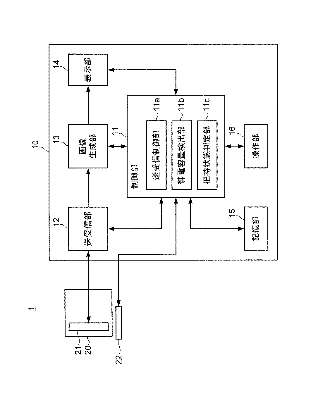
标题:
超音波診断装置、超音波診断装置の制御装置及び制御装置及び制御方法
授权日:
1900-01-01
公开(公告)号:
JP2018126309A
申请日:
2017-02-08
公开(公告)日:
2018-08-16
当前申请(专利权)人:
コニカミノルタ株式会社
发明人:
西垣 森緒 | 西村 有史 | 酒井 智仁
简单同族:
JP2018126309A
简单同族成员数量:
1
简单同族被引用专利总数:
0
诉讼案件数:
0
法律状态/事件:
公开