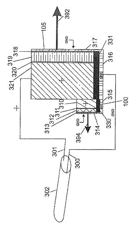
标题:
共通電気チャネル上で処理可能な超音波トランスデューサを有する超音波プローブ
授权日:
1900-01-01
公开(公告)号:
JP2017164512A
申请日:
2017-04-19
公开(公告)日:
2017-09-21
当前申请(专利权)人:
サニーブルック ヘルス サイエンシーズ センター
发明人:
コートニー,ブライアン | シンド,アマンディープ
简单同族:
CA2824955A1 | EP2671093A1 | EP2671093A4 | EP2671093B1 | JP2014506811A | JP2017164512A | JP6440359B2 | JP6445076B2 | US10390791 | US20120197113A1 | US20180008230A1 | US20190357877A1 | US9700280 | WO2012103650A1 | WO2012103650A9
简单同族成员数量:
15
简单同族被引用专利总数:
37
诉讼案件数:
0
法律状态/事件:
授权