首页
专利数据库
产业人才
行业动态
产业政策法规
维权援助
个人中心
登录/注册
详情
文本
图像
标题:
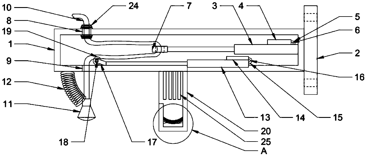
一种超声科用超声探头悬挂装置
授权日:
2020-07-07
公开(公告)号:
CN210931515U
申请日:
2019-08-20
公开(公告)日:
2020-07-07
当前申请(专利权)人:
郑州大学第二附属医院
发明人:
罗莹莹 | 苏杭 | 曹盼盼
简单同族:
CN210931515U
简单同族成员数量:
1
简单同族被引用专利总数:
0
诉讼案件数:
0
法律状态/事件:
授权