首页
专利数据库
产业人才
行业动态
产业政策法规
维权援助
个人中心
登录/注册
详情
文本
图像
标题:
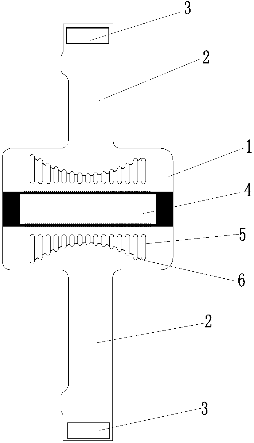
超声换能器柔性电路板及凸阵探头
授权日:
2018-09-04
公开(公告)号:
CN207820300U
申请日:
2017-11-24
公开(公告)日:
2018-09-04
当前申请(专利权)人:
无锡祥生医疗科技股份有限公司
发明人:
浦潞兰 | 马克伟
简单同族:
CN207820300U
简单同族成员数量:
1
简单同族被引用专利总数:
0
诉讼案件数:
0
法律状态/事件:
授权