首页
专利数据库
产业人才
行业动态
产业政策法规
维权援助
个人中心
登录/注册
详情
文本
图像
标题:
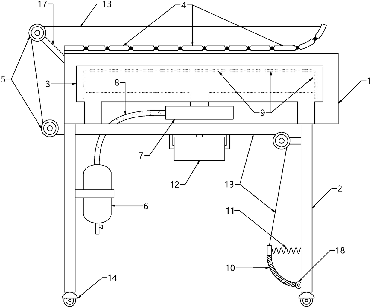
一种用于超声检验的专用操作台
授权日:
2017-07-07
公开(公告)号:
CN206303912U
申请日:
2016-07-31
公开(公告)日:
2017-07-07
当前申请(专利权)人:
刘丽萍
发明人:
刘丽萍 | 万爱华 | 韩瑞坤 | 高明星
简单同族:
CN206303912U
简单同族成员数量:
1
简单同族被引用专利总数:
0
诉讼案件数:
0
法律状态/事件:
未缴年费