首页
专利数据库
产业人才
行业动态
产业政策法规
维权援助
个人中心
登录/注册
详情
文本
图像
标题:
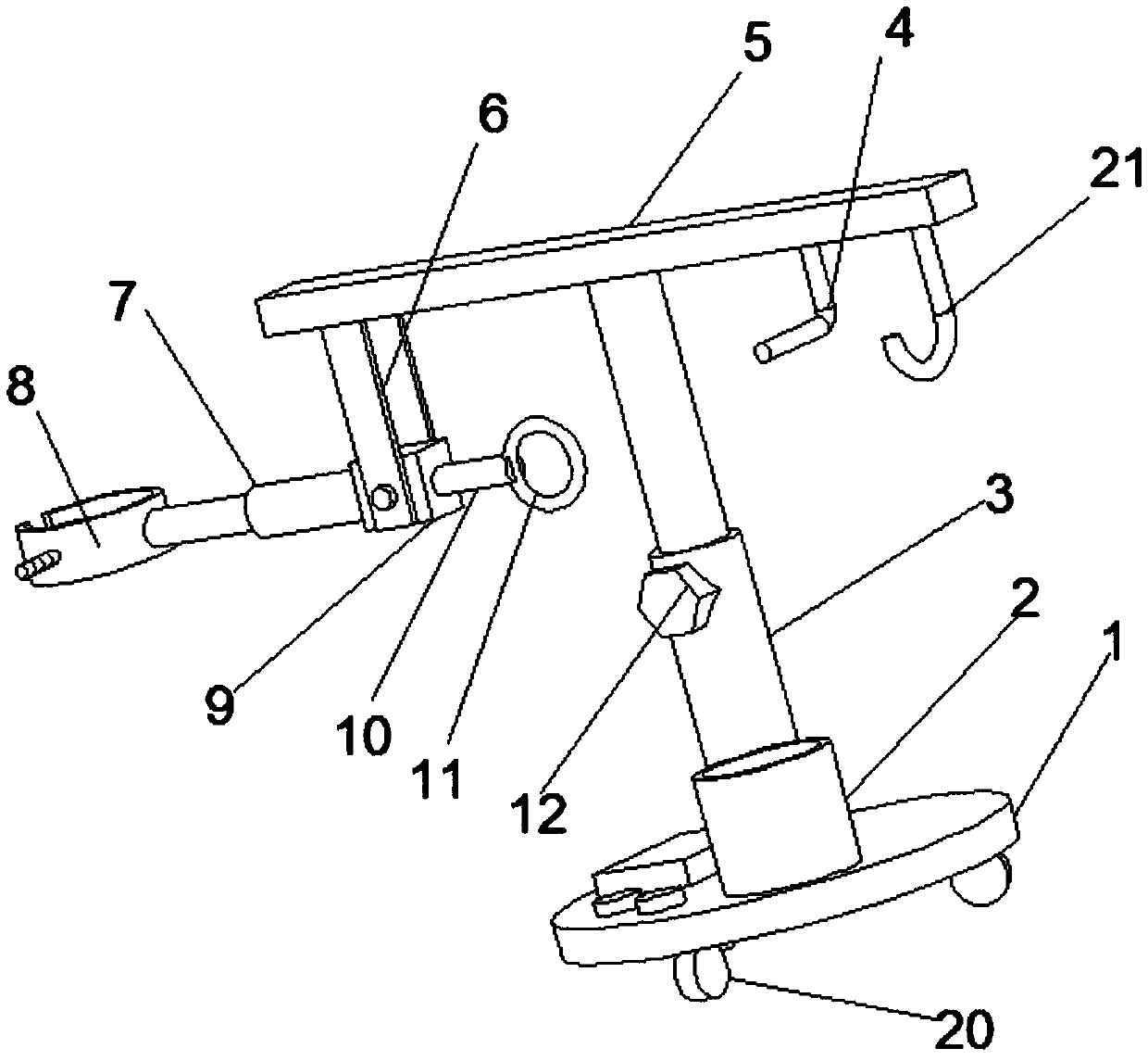
超声科用检查辅助架
授权日:
2020-01-31
公开(公告)号:
CN209996352U
申请日:
2019-04-19
公开(公告)日:
2020-01-31
当前申请(专利权)人:
高洋
发明人:
高洋
简单同族:
CN209996352U
简单同族成员数量:
1
简单同族被引用专利总数:
0
诉讼案件数:
0
法律状态/事件:
授权