首页
专利数据库
产业人才
行业动态
产业政策法规
维权援助
个人中心
登录/注册
详情
文本
图像
标题:
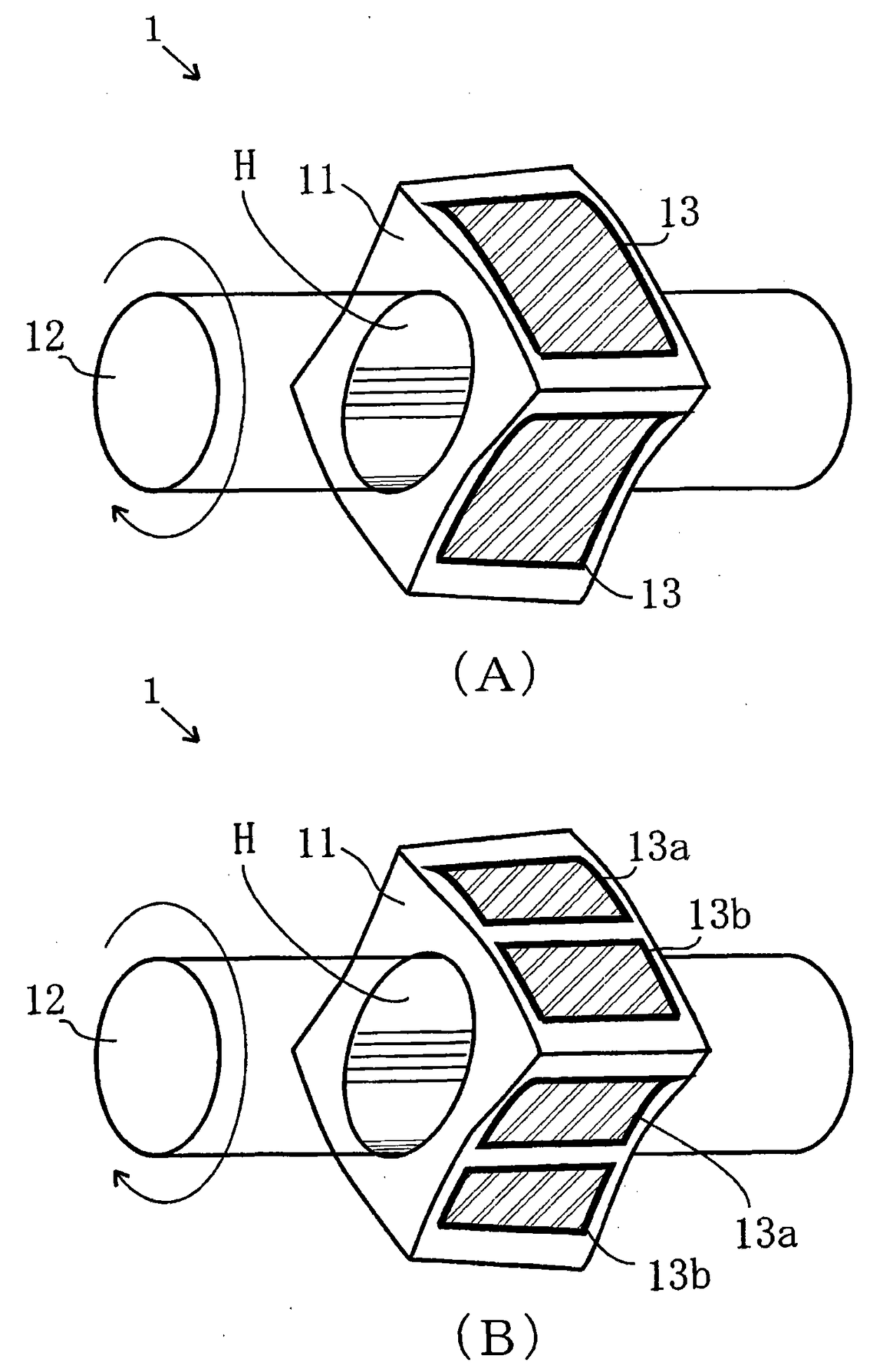
超声波操作装置和微细管内检查系统
授权日:
2012-07-04
公开(公告)号:
CN101517883B
申请日:
2007-09-25
公开(公告)日:
2012-07-04
当前申请(专利权)人:
国立大学法人东京农工大学
发明人:
真下智昭 | 远山茂树
简单同族:
CN101517883A | CN101517883B | EP2114004A1 | EP2114004A4 | EP2114004B1 | JPWO2008038817A1 | US20090261690A1 | WO2008038817A1
简单同族成员数量:
8
简单同族被引用专利总数:
45
诉讼案件数:
0
法律状态/事件:
未缴年费