首页
专利数据库
产业人才
行业动态
产业政策法规
维权援助
个人中心
登录/注册
详情
文本
图像
标题:
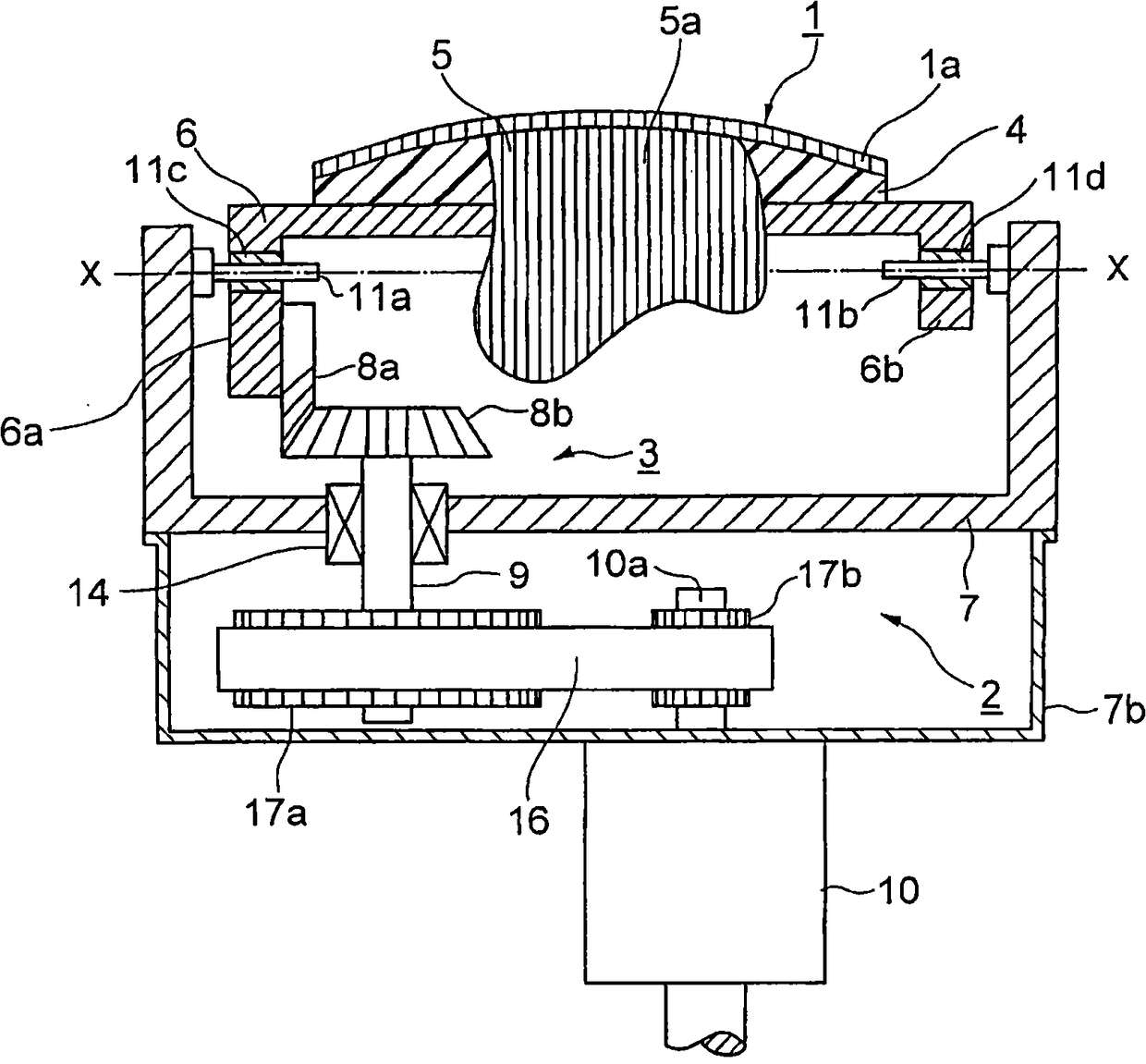
超声波探头
授权日:
2011-12-07
公开(公告)号:
CN101112321B
申请日:
2007-07-24
公开(公告)日:
2011-12-07
当前申请(专利权)人:
日本电波工业株式会社
发明人:
长谷川恭信
简单同族:
CN101112321A | CN101112321B | EP1882932A2 | EP1882932A3 | JP2008023211A | US20080027326A1 | US7967755
简单同族成员数量:
7
简单同族被引用专利总数:
28
诉讼案件数:
0
法律状态/事件:
授权