首页
专利数据库
产业人才
行业动态
产业政策法规
维权援助
个人中心
登录/注册
详情
文本
图像
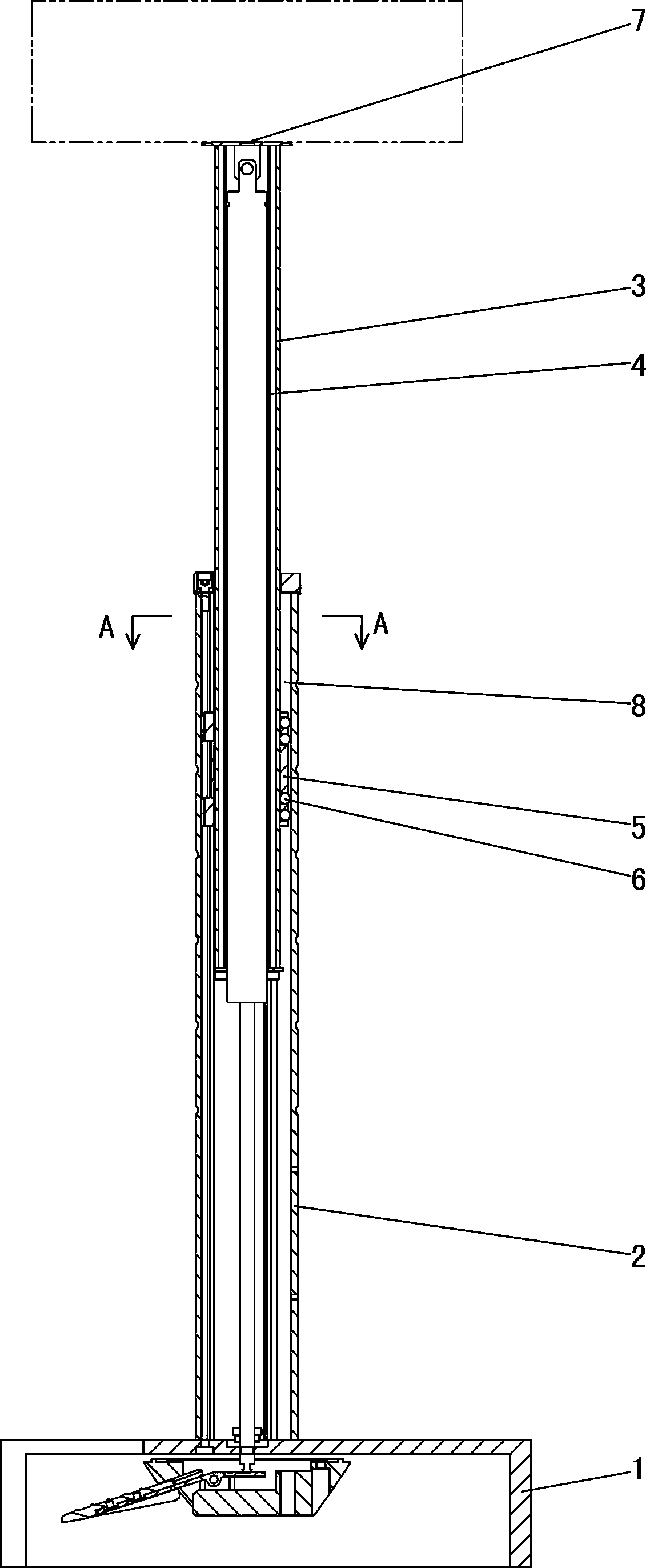
标题:
一种用于超声诊断设备的升降装置
授权日:
1900-01-01
公开(公告)号:
CN104546002A
申请日:
2015-01-26
公开(公告)日:
2015-04-29
当前申请(专利权)人:
汕头市超声仪器研究所有限公司
发明人:
林伟杰 | 苏树钿 | 陈凯亮 | 刘英煌
简单同族:
CN104546002A
简单同族成员数量:
1
简单同族被引用专利总数:
0
诉讼案件数:
0
法律状态/事件:
驳回