首页
专利数据库
产业人才
行业动态
产业政策法规
维权援助
个人中心
登录/注册
详情
文本
图像
标题:
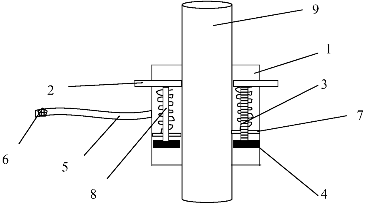
超声波探头用定位标识器
授权日:
2015-07-08
公开(公告)号:
CN204445943U
申请日:
2015-02-17
公开(公告)日:
2015-07-08
当前申请(专利权)人:
青岛市市立医院
发明人:
韩卫红
简单同族:
CN204445943U
简单同族成员数量:
1
简单同族被引用专利总数:
0
诉讼案件数:
0
法律状态/事件:
未缴年费