首页
专利数据库
产业人才
行业动态
产业政策法规
维权援助
个人中心
登录/注册
详情
文本
图像
标题:
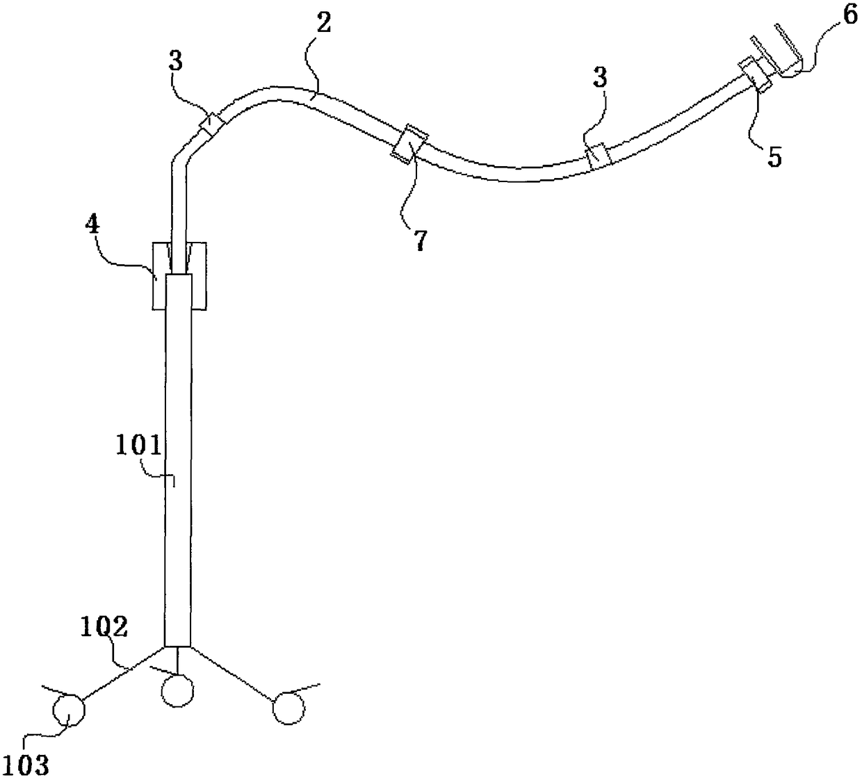
一种超声探头支架结构
授权日:
2018-09-07
公开(公告)号:
CN207821907U
申请日:
2017-08-14
公开(公告)日:
2018-09-07
当前申请(专利权)人:
北京大学第三医院
发明人:
贺端端 | 高宇
简单同族:
CN207821907U
简单同族成员数量:
1
简单同族被引用专利总数:
0
诉讼案件数:
0
法律状态/事件:
授权 | 权利转移