首页
专利数据库
产业人才
行业动态
产业政策法规
维权援助
个人中心
登录/注册
详情
文本
图像
标题:
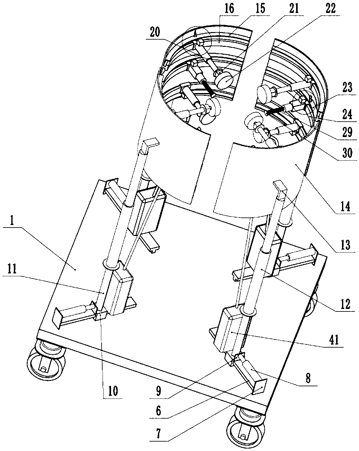
一种超声医学耦合剂自动化涂抹仪
授权日:
1900-01-01
公开(公告)号:
CN109620289A
申请日:
2019-01-18
公开(公告)日:
2019-04-16
当前申请(专利权)人:
王涛
发明人:
王涛 | 王静 | 赵毅玲 | 姚丽红 | 肖嘉懿 | 冯冲 | 张洋
简单同族:
CN109620289A
简单同族成员数量:
1
简单同族被引用专利总数:
0
诉讼案件数:
0
法律状态/事件:
实质审查