首页
专利数据库
产业人才
行业动态
产业政策法规
维权援助
个人中心
登录/注册
详情
文本
图像
标题:
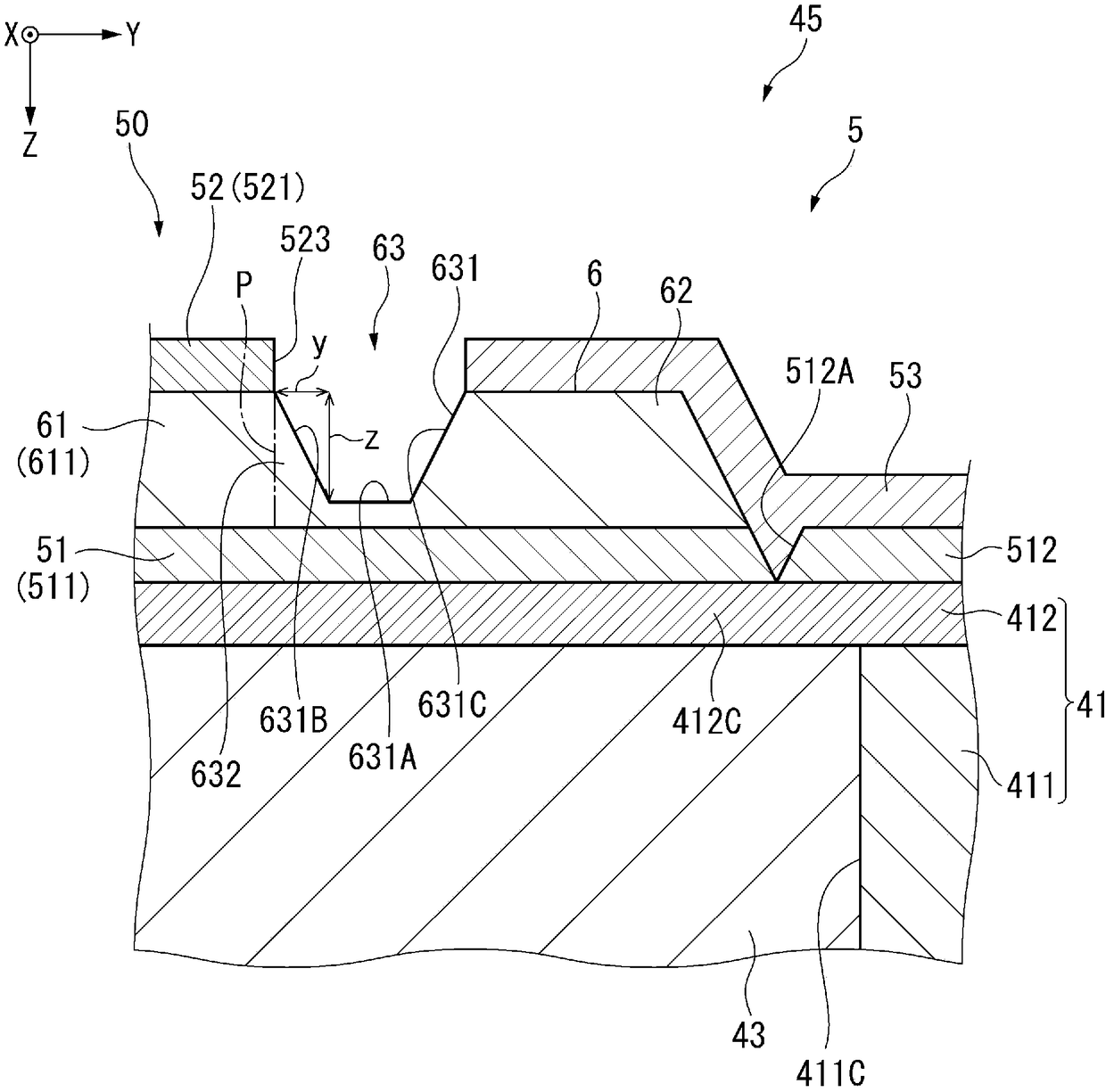
压电元件及致动器、超声波探头、超声波装置、电子设备
授权日:
1900-01-01
公开(公告)号:
CN108336216A
申请日:
2017-12-28
公开(公告)日:
2018-07-27
当前申请(专利权)人:
精工爱普生株式会社
发明人:
大桥幸司
简单同族:
CN108336216A | JP2018117022A | US20180204997A1
简单同族成员数量:
3
简单同族被引用专利总数:
0
诉讼案件数:
0
法律状态/事件:
实质审查