首页
专利数据库
产业人才
行业动态
产业政策法规
维权援助
个人中心
登录/注册
详情
文本
图像
标题:
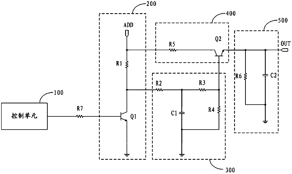
液晶显示屏及其电压动态调整电路
授权日:
2020-04-17
公开(公告)号:
CN210349266U
申请日:
2019-06-27
公开(公告)日:
2020-04-17
当前申请(专利权)人:
乐安县云智易联科技有限公司
发明人:
刘威 | 何章生
简单同族:
CN210349266U
简单同族成员数量:
1
简单同族被引用专利总数:
0
诉讼案件数:
0
法律状态/事件:
授权