首页
专利数据库
产业人才
行业动态
产业政策法规
维权援助
个人中心
登录/注册
详情
文本
图像
标题:
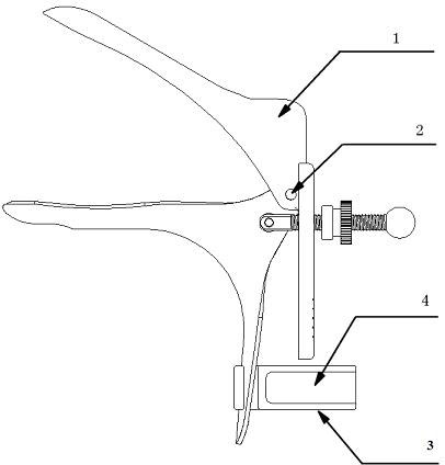
妇科手术用的阴道窥器和探头
授权日:
2012-02-22
公开(公告)号:
CN202146317U
申请日:
2011-07-01
公开(公告)日:
2012-02-22
当前申请(专利权)人:
王敏松
发明人:
王敏松
简单同族:
CN202146317U
简单同族成员数量:
1
简单同族被引用专利总数:
0
诉讼案件数:
0
法律状态/事件:
未缴年费 | 许可