首页
专利数据库
产业人才
行业动态
产业政策法规
维权援助
个人中心
登录/注册
详情
文本
图像
标题:
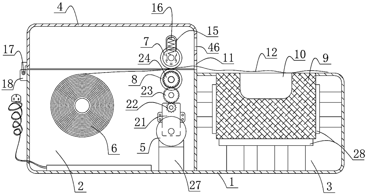
一种超声探头上膜器
授权日:
1900-01-01
公开(公告)号:
CN108523927A
申请日:
2018-06-25
公开(公告)日:
2018-09-14
当前申请(专利权)人:
山东大学齐鲁医院
发明人:
王昊 | 陈玉国 | 翟茜 | 秦伟栋 | 杨洪娜 | 张建宁 | 李远 | 张帆 | 单悌超
简单同族:
CN108523927A
简单同族成员数量:
1
简单同族被引用专利总数:
0
诉讼案件数:
0
法律状态/事件:
实质审查