首页
专利数据库
产业人才
行业动态
产业政策法规
维权援助
个人中心
登录/注册
详情
文本
图像
标题:
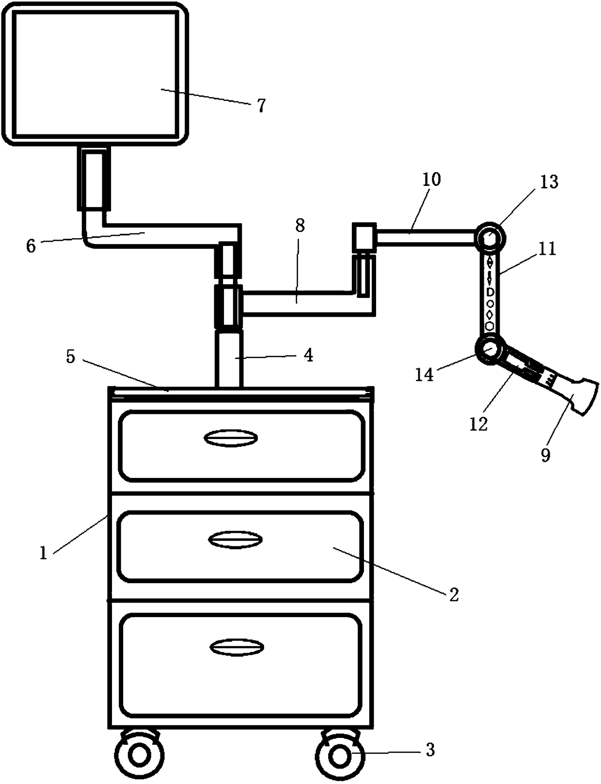
悬吊臂探头超声仪
授权日:
2017-12-12
公开(公告)号:
CN206729904U
申请日:
2016-12-04
公开(公告)日:
2017-12-12
当前申请(专利权)人:
无锡圣诺亚科技有限公司
发明人:
谢红 | 王志萍 | 高宏 | 王德清 | 蔡慧梁
简单同族:
CN206729904U
简单同族成员数量:
1
简单同族被引用专利总数:
0
诉讼案件数:
0
法律状态/事件:
授权