首页
专利数据库
产业人才
行业动态
产业政策法规
维权援助
个人中心
登录/注册
详情
文本
图像
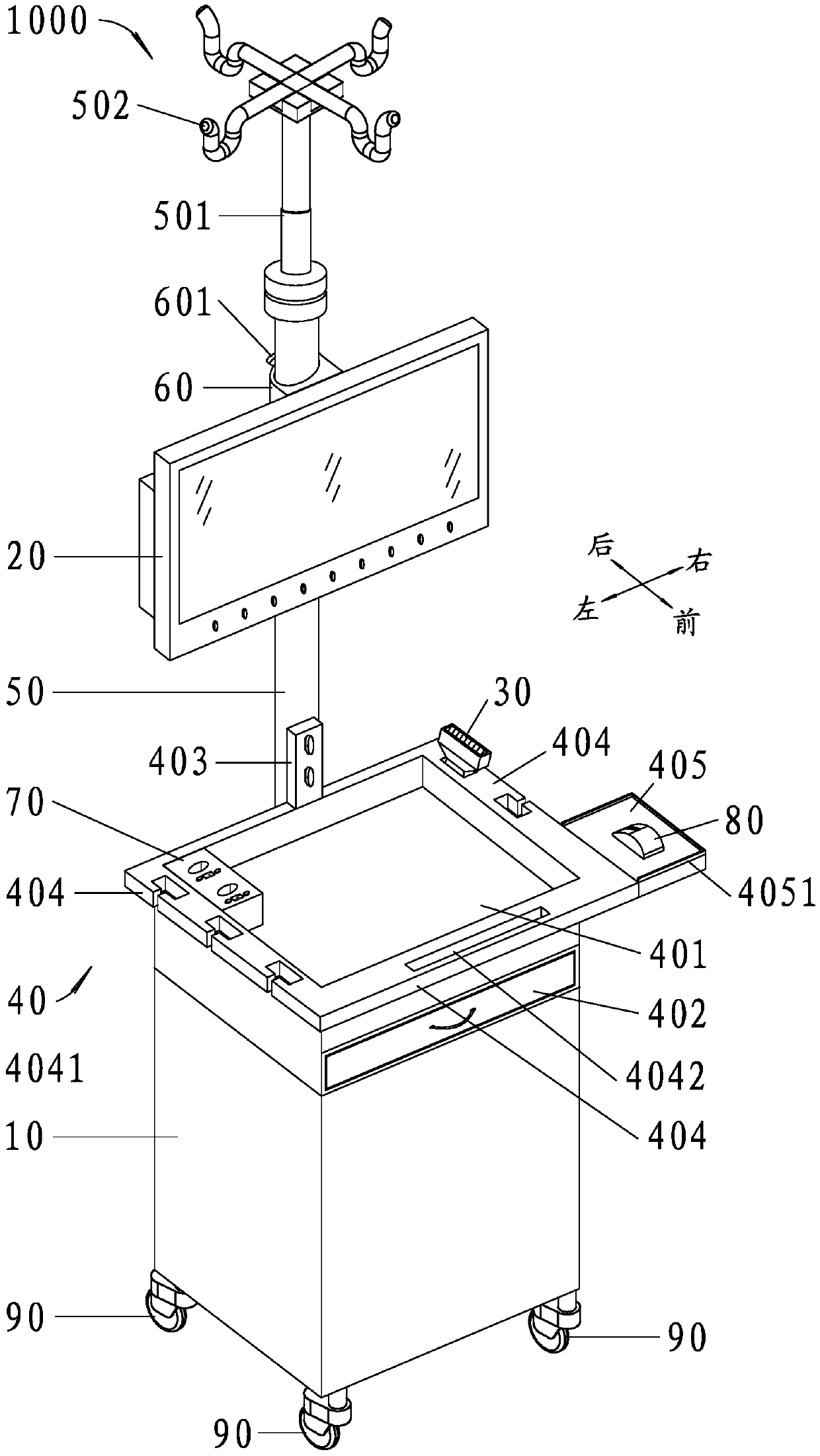
标题:
改良型超声胎儿诊断仪
授权日:
2019-09-20
公开(公告)号:
CN209404816U
申请日:
2018-03-21
公开(公告)日:
2019-09-20
当前申请(专利权)人:
珠海市妇幼保健院
发明人:
刘彦红 | 朱晓燕
简单同族:
CN209404816U
简单同族成员数量:
1
简单同族被引用专利总数:
0
诉讼案件数:
0
法律状态/事件:
授权