首页
专利数据库
产业人才
行业动态
产业政策法规
维权援助
个人中心
登录/注册
详情
文本
图像
标题:
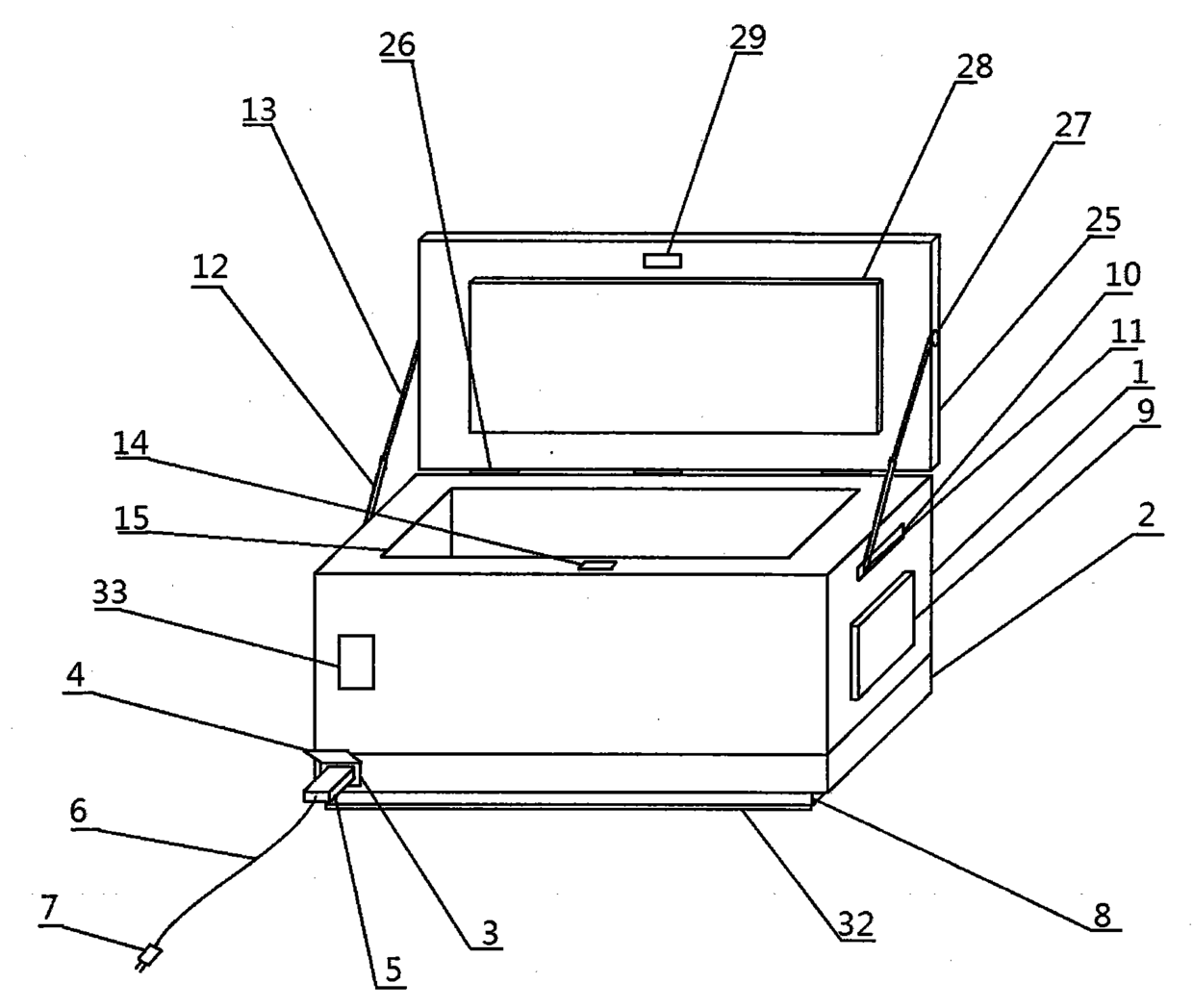
可充电式超声诊断箱
授权日:
2015-10-07
公开(公告)号:
CN204683654U
申请日:
2015-05-24
公开(公告)日:
2015-10-07
当前申请(专利权)人:
李靖华
发明人:
李靖华
简单同族:
CN204683654U
简单同族成员数量:
1
简单同族被引用专利总数:
0
诉讼案件数:
0
法律状态/事件:
未缴年费