首页
专利数据库
产业人才
行业动态
产业政策法规
维权援助
个人中心
登录/注册
详情
文本
图像
标题:
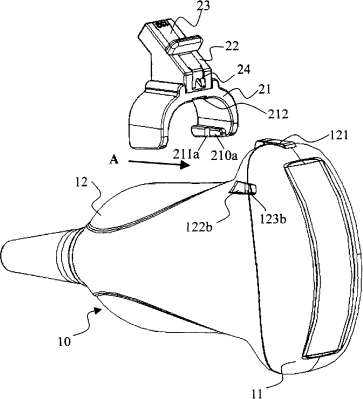
在超声探头上附装穿刺针架的结构
授权日:
1900-01-01
公开(公告)号:
CN1985769A
申请日:
2005-12-20
公开(公告)日:
2007-06-27
当前申请(专利权)人:
深圳迈瑞生物医疗电子股份有限公司
发明人:
黄善志 | 张梦悦 | 邹建锋
简单同族:
CN100525725C | CN1985769A | US20070167817A1 | US8137281
简单同族成员数量:
4
简单同族被引用专利总数:
63
诉讼案件数:
0
法律状态/事件:
授权