首页
专利数据库
产业人才
行业动态
产业政策法规
维权援助
个人中心
登录/注册
详情
文本
图像
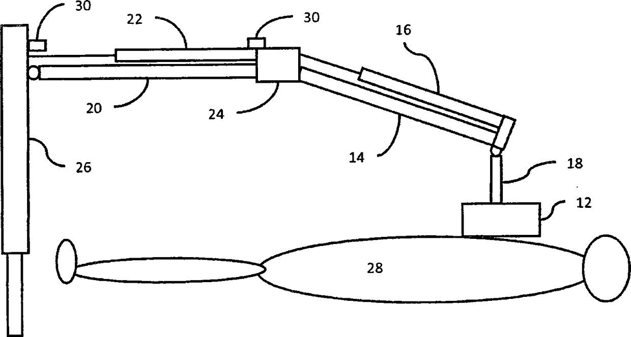
标题:
用于超声扫描的支撑臂
授权日:
2014-09-03
公开(公告)号:
CN101816571B
申请日:
2010-02-10
公开(公告)日:
2014-09-03
当前申请(专利权)人:
美国西门子医疗解决公司
发明人:
萨奇·潘达 | 托德·普利克 | 马丁·施米特
简单同族:
CN101816571A | CN101816571B | DE102010006586A1 | JP2010194307A | JP2010194307A5 | JP5599197B2 | US20100204578A1 | US9366378
简单同族成员数量:
8
简单同族被引用专利总数:
22
诉讼案件数:
0
法律状态/事件:
授权