标题:
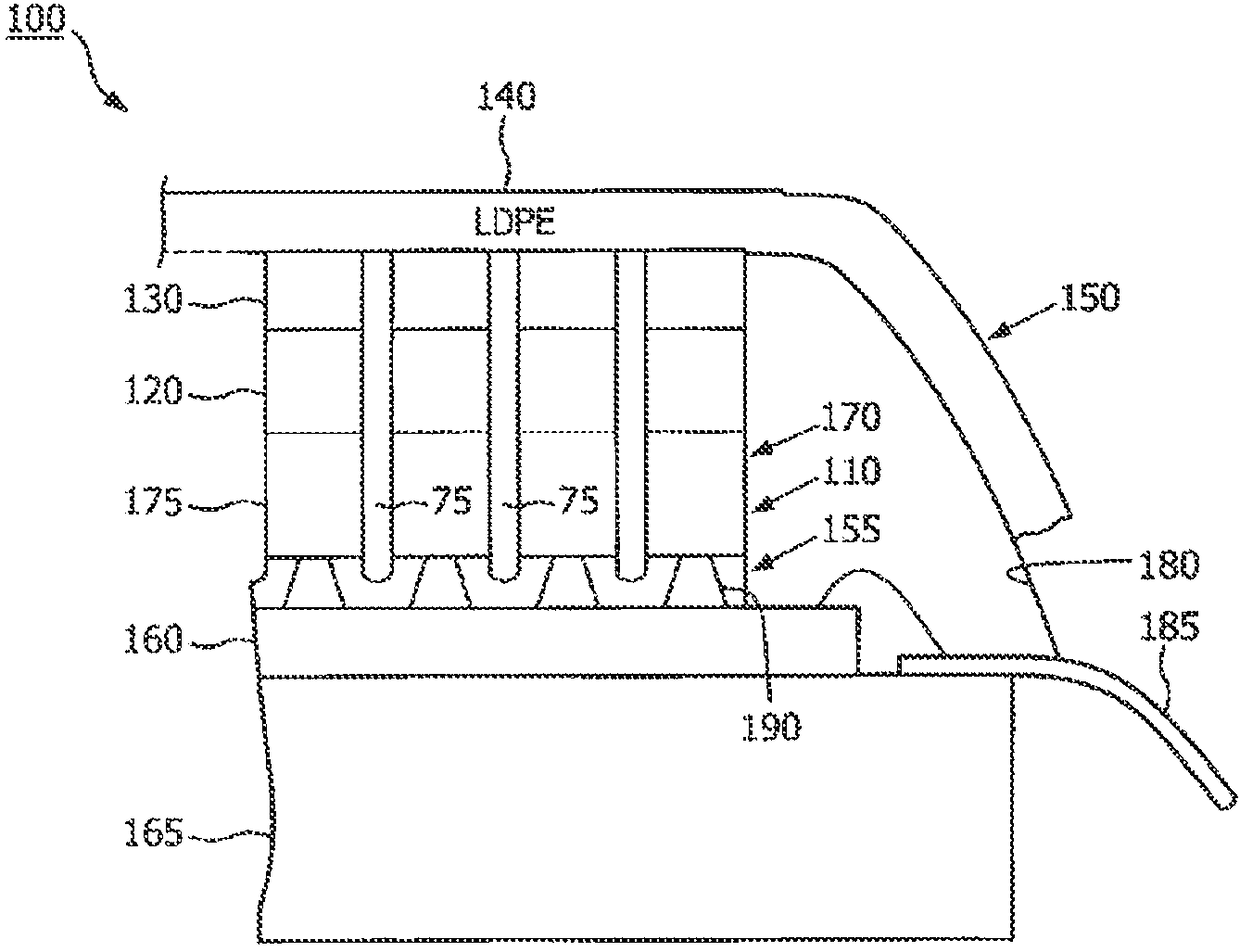
用于超声换能器阵列的具有高导热性的高孔隙率声背衬
授权日:
1900-01-01
公开(公告)号:
CN103429359A
申请日:
2012-03-14
公开(公告)日:
2013-12-04
当前申请(专利权)人:
皇家飞利浦有限公司
发明人:
W·苏多尔 | K·G·威克莱恩 | Y·于 | H·B·诺尔斯 | J·保利诺 | R·E·戴维森
简单同族:
CN103429359A | CN103429359B | CN103443850A | EP2686116A2 | EP2686117A2 | EP2686117B1 | JP2014508022A | JP2014512899A | JP2014512899A5 | JP5972296B2 | US20120238880A1 | US20130345567A1 | US9237880 | US9943287 | WO2012123906A2 | WO2012123906A3 | WO2012123908A2 | WO2012123908A3
简单同族成员数量:
18
简单同族被引用专利总数:
43
诉讼案件数:
0
法律状态/事件:
授权