首页
专利数据库
产业人才
行业动态
产业政策法规
维权援助
个人中心
登录/注册
详情
文本
图像
标题:
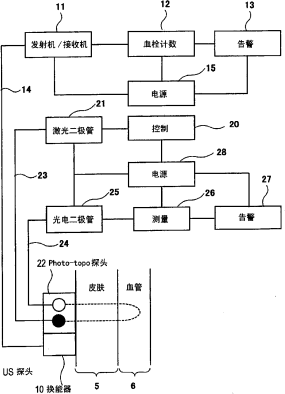
血栓检测设备、血栓治疗设备及其方法
授权日:
1900-01-01
公开(公告)号:
CN1878504A
申请日:
2003-11-14
公开(公告)日:
2006-12-13
当前申请(专利权)人:
株式会社日立医药
发明人:
石田一成 | 加贺干广 | 藤田直人 | 洼田纯
简单同族:
CN1878504A | DE60335921D1 | EP1685800A1 | EP1685800A4 | EP1685800B1 | US20070213613A1 | US7789830 | WO2005046482A1
简单同族成员数量:
8
简单同族被引用专利总数:
58
诉讼案件数:
0
法律状态/事件:
驳回