首页
专利数据库
产业人才
行业动态
产业政策法规
维权援助
个人中心
登录/注册
详情
文本
图像
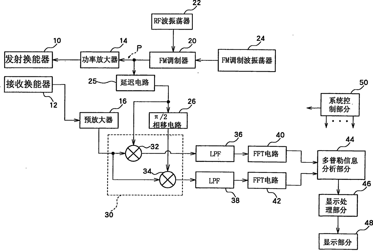
标题:
超声波诊断装置
授权日:
2011-07-13
公开(公告)号:
CN101292880B
申请日:
2008-04-28
公开(公告)日:
2011-07-13
当前申请(专利权)人:
日立阿洛卡医疗株式会社
发明人:
国田正德
简单同族:
CN101292880A | CN101292880B | JP2008289851A | JP5459963B2
简单同族成员数量:
4
简单同族被引用专利总数:
26
诉讼案件数:
0
法律状态/事件:
未缴年费