首页
专利数据库
产业人才
行业动态
产业政策法规
维权援助
个人中心
登录/注册
详情
文本
图像
标题:
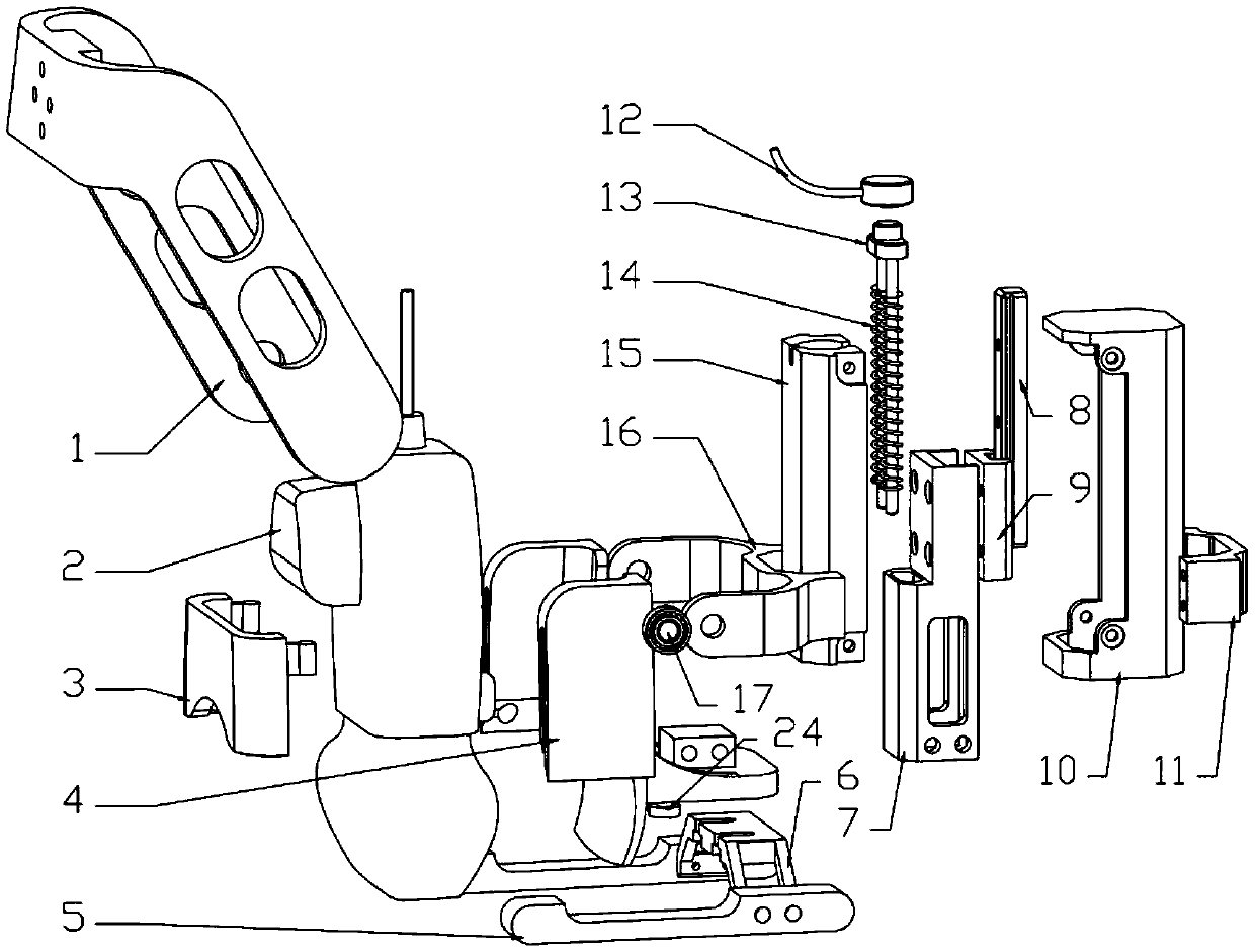
一种自适应稳压医疗超声探头夹具
授权日:
2019-11-19
公开(公告)号:
CN209644937U
申请日:
2018-11-29
公开(公告)日:
2019-11-19
当前申请(专利权)人:
浙江大学
发明人:
王云江 | 朱永坚 | 杨克己
简单同族:
CN209644937U
简单同族成员数量:
1
简单同族被引用专利总数:
0
诉讼案件数:
0
法律状态/事件:
授权