首页
专利数据库
产业人才
行业动态
产业政策法规
维权援助
个人中心
登录/注册
详情
文本
图像
标题:
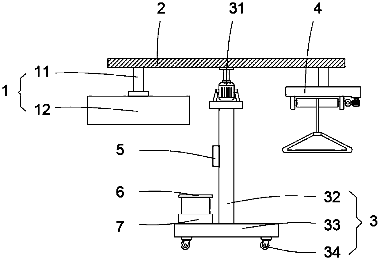
一种超声科用B超检查支架
授权日:
2020-05-08
公开(公告)号:
CN210472173U
申请日:
2019-06-29
公开(公告)日:
2020-05-08
当前申请(专利权)人:
黄华田
发明人:
黄华田
简单同族:
CN210472173U
简单同族成员数量:
1
简单同族被引用专利总数:
0
诉讼案件数:
0
法律状态/事件:
授权