首页
专利数据库
产业人才
行业动态
产业政策法规
维权援助
个人中心
登录/注册
详情
文本
图像
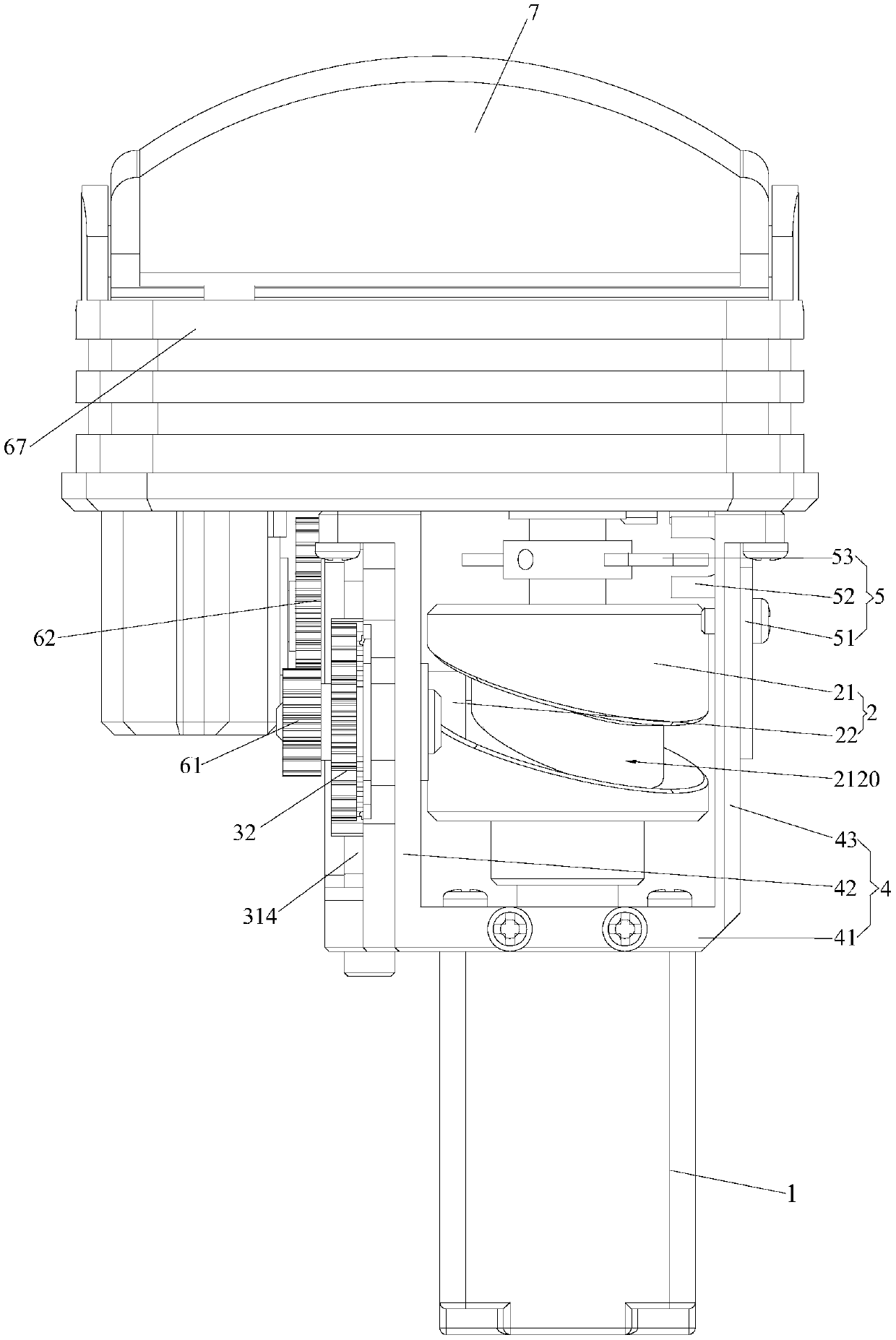
标题:
传动装置及三维超声探头
授权日:
2019-05-10
公开(公告)号:
CN208837993U
申请日:
2018-01-26
公开(公告)日:
2019-05-10
当前申请(专利权)人:
深圳市理邦精密仪器股份有限公司
发明人:
彭敏康 | 罗华 | 周丹 | 欧阳波
简单同族:
CN208837993U
简单同族成员数量:
1
简单同族被引用专利总数:
0
诉讼案件数:
0
法律状态/事件:
授权