首页
专利数据库
产业人才
行业动态
产业政策法规
维权援助
个人中心
登录/注册
详情
文本
图像
标题:
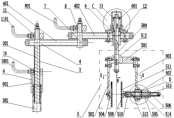
一种用于婴儿髋关节超声检查的探头固定装置
授权日:
2020-04-17
公开(公告)号:
CN210330607U
申请日:
2019-06-03
公开(公告)日:
2020-04-17
当前申请(专利权)人:
邓肖群
发明人:
邓肖群
简单同族:
CN210330607U
简单同族成员数量:
1
简单同族被引用专利总数:
0
诉讼案件数:
0
法律状态/事件:
授权