首页
专利数据库
产业人才
行业动态
产业政策法规
维权援助
个人中心
登录/注册
详情
文本
图像
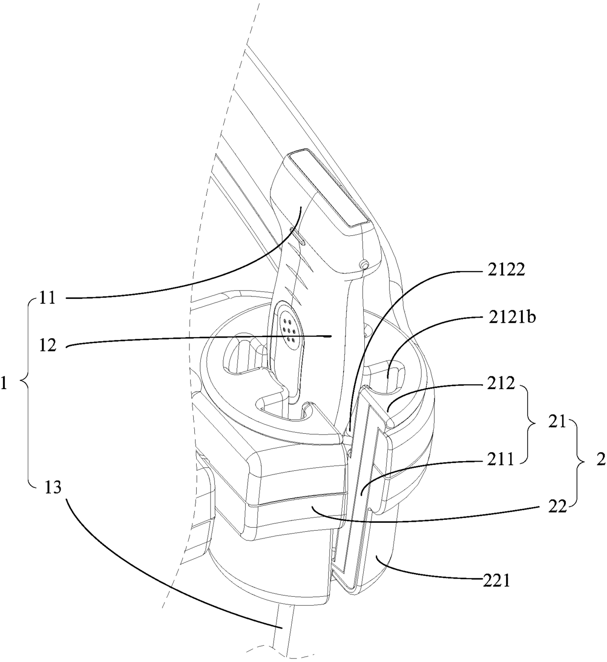
标题:
超声波探头的安装座和超声波诊断设备
授权日:
2016-09-14
公开(公告)号:
CN205568975U
申请日:
2016-03-21
公开(公告)日:
2016-09-14
当前申请(专利权)人:
深圳华声医疗技术股份有限公司
发明人:
彭泽波 | 叶茂林 | 高清山
简单同族:
CN205568975U
简单同族成员数量:
1
简单同族被引用专利总数:
0
诉讼案件数:
0
法律状态/事件:
授权